Ett flygplans stabilitet

(Note: at the top of the page you can choose translation of this article to other languages, but don't expect the translation to be perfect — "Välj språk" means "Choose language")

I föreliggande artikel skall vi diskutera de krafter som har betydelse för ett flygplans stabilitet. Vi börjar med det fall att tyngdpunkten (CG) ligger framför lyftkraftcentrum (CL). Detta är det normala för civila flygplan (privatplan, business jets och trafikplan). För att förenkla resonemanget antar vi att planet flyger i planflykt. Det som diskuteras nedan handlar huvudsakligen om som det kallas longitudinell stabilitet (longitudinal stability), dvs ett flygplans stabilitet i pitch-led (nos upp/nos ner).

I texten nedan hänvisar jag flera gånger till "huvudartikeln". I slutet av föreliggande artikel finns en länk dit.

 

Grundläggande krafter på ett flygplan

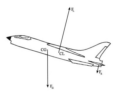
Bild 1. Bilden visar silhuetten av en Vought F-8 Crusader (ett av mina favoritplan), vilken diskuteras under bild 8 i huvudartikeln. Fenan (vertical stabilizer) på ett flygplan är kopplad till ett flygplans stabilitet i sidled (yaw) och på dess bakkant sitter sidorodret (som manövreras med roderpedalerna). Stabilisatorn (horizontal stabilizer) är de små, horisontella vingarna i ett flygplans stjärtparti. I bakkanten av stabilisatorn sitter höjdrodren. I bilden finns utritad de tre viktigaste krafterna som verkar på ett flygplan ur stabilitetssynpunkt. CG är planets tyngdpunkt (center of gravity) och CL är lyftkraftcentrum (center of lift). FG är tyngdkraften (gravitationen), som verkar i tyngdpunkten och som alltid är vertikal, och FL är lyftkraften, vilken verkar i lyftkraftcentrum (behandlas mer i detalj här). FS, slutligen, är den nedåtriktade kraft som genereras av stabilisatorn (och som verkar i stabilisatorns lyftkraftcentrum).
Förutom dessa tre krafter har vi ytterligare två viktiga krafter; thrust och drag. Drag (luftmotstånd), som behandlas i ett särskilt avsnitt (se länk ovan), är alltid riktad bakåt räknat i planets rörelseriktning. Thrust är den dragkraft som genereras av planets motor/motorer (oavsett om det är ett propellerplan eller ett jetplan) och är framåtriktad (under flygning — vid landning använder trafikplan ofta motorerna för inbromsning, genom att rikta jetstrålen framåt eller vrida propellerbladen så att dessa ger en bromseffekt). På plan som glidflyger (t ex segelplan) genereras thrust av gravitationskraften (genom att planet flyger i "nedförsbacke" kommer gravitationskraften att ha en komposant framåt i rörelseriktningen — se bild 2).

Låt oss inledningsvis undersöka hur gravitationskraften verkar i samband med glidflygning (och även stigning).

Bild 2. Ett flygplan under glidflygning
FG i bild 2 är tyngdkraften, som är riktad vertikalt (mot jordens medelpunkt). För att bäst förstå verkan av denna kraft delar man upp den i två komposanter (vars vektorsumma är lika med FG). F2 är riktad vinkelrätt mot flygkroppen och är den kraft som skall kompenseras av planets lyftkraft (FL i bild 1, vilken i det här fallet inte är vertikal utan motriktad F2). F1 är riktad parallellt med planets längdaxel och framåt (vid planflykt som i bild 1 är F1 = 0). Den kommer att fungera som drivkraft när ett plan glidflyger. Om planet är försett med motorer (som fungerar) kommer den att ge ett bidrag till motorernas dragkraft och man kan minska deras effekt. Vid s k grön inflygning flyger man på marschhöjd så länge som möjligt och glidflyger sedan till banan man skall landa på, med motorerna på tomgång. Detta är den mest bränsleeffektiva och miljövänliga tekniken och tillämpas så mycket som möjligt på moderna flygplatser som exempelvis Arlanda.
När det gäller ett plan som stiger så är givetvis FG även i detta fall vertikal. Enda skillnaden blir att F1 nu är riktad bakåt och fungerar som en motkraft, dvs motorerna skall inte bara övervinna planets luftmotstånd utan också F1. När det gäller F1 så är denna kraft av en helt annan natur än luftmotståndet. Det senare, som utgör en form av friktion, är en s k icke konservativ kraft och den energi (det arbete) som åtgår för att övervinna luftmotståndet är förlorad. Denna energi blir till värme och turbulens i luftmassan. F1 däremot är en konservativ kraft. Det arbete som åtgår för att övervinna F1, dvs för att lyfta upp planet från markhöjd till marschhöjd, lagras i form av potentiell energi (lägesenergi). Under climbfasen (stigning) omvandlas rörelseenergi till lägesenergi och under descent (sjunkfasen) omvandlas denna lägesenergi tillbaka till rörelseenergi. I princip skulle man kunna stänga av motorerna under descent, men detta görs inte av säkerhetsskäl.
När planet går ner för landning får man således tillbaka hela den energi som gått åt för att övervinna F1 under climb (genom att man kan ha lägre motorpådrag under hela sjunkfasen).
Det lönar sig alltid att flyga så högt som möjligt, eftersom luftmotståndet minskar dramatiskt med höjden (pga att luften blir tunnare och tunnare när höjden ökar). På 40 000 ft höjd och farten 480 knop svarar luftmotståndet mot farten 250 knop. Eftersom luftmotståndet ökar kvadratiskt (på ett ungefär) med farten (fördubblas farten så fyrdubblas luftmotståndet) blir bränslebesparingen avsevärd med ökande höjd. Man vill således hålla sig på så hög höjd som möjligt så länge som möjligt. För varje vikt på ett flygplan, finns en optimal flyghöjd. Ju tyngre ett flygplan är desto lägre är den optimala höjden och överskrider man denna blir planet svårt att kontrollera (se också diskussionen om "coffin corner" i min artikel om luftmotstånd och lyftkraft). På relativt korta sträckor, där man kanske inte hinner upp på den optimala flyghöjden innan det är dags att gå ner igen, lönar det sig därför att stiga så länge man kan och sedan direkt börja sjunka. I verkligheten kanske det inte blir riktigt som man planerat. ATC (trafikledningen) kanske inte accepterar den höjd piloterna begärt på grund av risk för konflikt med andra flygplan i närheten. Dessutom har varje flygplanstyp en maximalt tillåten höjd beroende på begränsningar hos tryckkabinen (när det gäller hållfasthet).

 

Krafter och vridmoment — lite fysik

Låt oss nu återvända till bild 1 och diskutera de krafter som finns utritade i denna bild. Tyngdkraften FG verkar i planets tyngdpunkt och är lika med summan av de krafter som verkar på alla atomer som ingår i flygplanet. Delkrafterna verkar i olika punkter (och kommer därför att ha olika vridmoment i förhållande till någon given punkt). Tyngdpunkten (CG) utgör ett slags medelvärde för alla delkrafter när det gäller momentarm (denna är helt enkelt den punkt kring vilken summan av alla delkrafternas vridmoment är lika med noll, dvs tar ut varandra). Därför kan alla delkrafterna, verkande på planets olika delar, ersättas av den totala kraften FG (summan av delkrafterna), verkande i tyngdpunkten. Denna totala kraft verkande i CG ersätter helt delkrafterna, både när det gäller total kraftverkan och totalt vridmoment.

Motsvarande gäller för de vertikala luftkrafterna på planets olika delar (vingar, flygkropp, stjärtparti etc), vilka kan vara uppåt- eller nedåtriktade (för enkelhets skull antar vi att planet flyger i planflykt). Dessa kan ersättas, både när det gäller total kraft och totalt vridmoment, av en total summakraft FL, placerad i lyftkraftcentrum CL (kring vilken summan av alla delkrafternas vridmoment är lika med noll).

Vi betraktar nu först enbart FL och FG. FL representerar fortsättningsvis summan av de olika vertikala luftkrafterna med ett undantag. Stabilisatorns kraftverkan separerar vi från de andra krafterna och kallar denna FS. FL och FG kommer att ge ett vridmoment på flygkroppen som vill vrida planet moturs (sett från betraktaren), dvs nosen kommer att sänkas och stjärten höjas. Det spelar ingen roll vilken vridningsaxel vi väljer (ett flygplan har ju, till skillnad från t ex ett bilhjul, ingen fast, självklar rotationsaxel). Det mest naturliga är att välja CG som vridningsaxel. Eftersom FG verkar i CG, har denna kraft ingen momentarm relativt denna punkt (det är ju själva definitionen av tyngdpunkten, enligt ovan) och orsakar inget vridmoment. FL, däremot, befinner sig på ett visst avstånd från CG, bakom denna punkt, och ger ett vridande moment (kring CG) riktat moturs (vill dra upp stjärten och sänka nosen).

Momentarmen definieras som sträckan mellan den punkt i vilken en kraft verkar och den punkt kring vilken systemet vrider sig. I föreliggande fall (bild 1 i början av denna artikel) är momentarmen lika med avståndet mellan CG och CL. Låt oss kalla momentarmen för r. Om kraften (FL) är vinkelrät mot momentarmen (som i vårt fall), blir vridmomentet τ (tau) helt enkelt produkten av momentarm och kraft, dvs
τ = FL⋅r
(τ, uttalas således "tau" och är grekiskans motsvarighet till "t" och används för att beteckna vridmoment, vilket på engelska heter "torque"). Momentarmen är, precis som kraften en vektor (eftersom den har både storlek och riktning). Även vridmomentet τ är en vektor (av samma skäl).
Generellt är formeln för vridmoment τ = FL⋅r⋅sinγ, där γ (gamma) är vinkeln mellan kraft och momentarm. Om γ=90°, dvs kraften är vinkelrät mot momentarmen (som ovan), får vi den tidigare formeln, eftersom sin90°=1.

Om vi bara har dessa två krafter kommer planets nos att sänkas mer och mer. Resultatet blir detsamma oavsett vilken rotationsaxel vi väljer. Betraktar vi i stället CL som vridningsaxel får vi samma resultat. FL har nu inget vridande moment, medan FG har en momentarm relativt CL (samma som ovan). Momentet från FG kommer att vilja vrida planet moturs precis som tidigare (men nu kring CL).

Ett plan som hela tiden vill sänka nosen är givetvis oflygbart. För att motverka rotationen enligt ovan måste man införa en ytterligare kraft. Därför har konventionella flygplan en stabilisator (små horisontella vingar i stjärtpartiet), som ger en nedåtriktad kraft, FS (se bild 1). Denna kraft vill vrida planet medurs medan FL vill vrida planet moturs. FS och FL motverkar således varandras vridmoment. Eftersom stabilisatorns area är avsevärt mindre än huvudvingarnas, blir kraften FS givetvis mycket mindre än FL. Men eftersom momentarmen för FS, relativt CG, är betydligt större, kan denna kraft ändå motverka vridmomentet från FL. Om FL:s och FS:s momentarmar är rL respektive rS, balanserar momenten varandra om:

FL⋅rL = FS⋅rS

Om t ex FL är 15 gånger större än FS, behöver avståndet mellan CG och stabilisatorn, dvs rS, vara 15 ggr större än avståndet mellan CG och CL (som är rL) för att vridmomenten skall ta ut varandra, vilket är lätt att uppfylla — i verkligheten ligger oftast CG och CL betydligt närmare varandra än vad som framgår av figuren. Stabilisatorns area kan därför, på ett konventionellt flygplan, vara dramatiskt mycket mindre än huvudvingarnas area.

Sammanfattningsvis kan man säga (om vi utgår från CG som rotationsaxel) att FL vill sänka nosen (rotera planet moturs) medan FS vill höja den (rotera planet medurs). Även om FS är betydligt mindre än FL så har den förstnämnda betydligt större momentarm relativt CG och kan därför balansera FL.

Stabilisatorns nedåtriktade kraft kan åstadkommas på flera sätt. Om stabilisatorn är lågt placerad som i bild 1, kan det räcka med nedsvepet från vingarna. På vissa flygplan sitter stabilisatorn högst upp på fenen (t ex MD-80 — se bild 6 i huvudartikeln). Då kan man ge den en negativ anfallsvinkel för att få önskad riktning på kraften.

För att ett flygplan skall flyga i planflykt (utan höjdförändring) och utan att sänka eller höja nosen (rotera), måste således två villkor vara uppfyllda:

Ekvation 1. Krafterna måste balansera varandra, dvs FL = FG+FS.
Ekvation 2. Vridmomenten måste balansera varandra (deras summa måste vara noll), dvs FL⋅rL = FS⋅rS.

Om 1 inte är uppfyllt kommer planet att stiga eller sjunka (om FL är större än summan av FG och FS kommer t ex planet att stiga).
Om 2 inte är uppfyllt, kommer planet att höja eller sänka nosen, dvs ändra sin pitchattityd.

Eftersom FL= FG+FS följer att FL inte bara måste bära upp flygplanets tyngd utan också kompensera för den nedåtriktade kraften på stabilisatorn. Lösningen med CG framför CL, vilken nödvändiggör att stabilisatorn måste generera en nedåtriktad kraft, leder således till att man måste skapa mer lyftkraft än vad som svarar mot planets tyngd. I artikeln om lift och drag (se länk i slutet av denna artikel) diskuteras begreppet inducerat luftmotstånd, vilket är kopplat till lyftkraft. Ju mer lyftkraft som genereras, desto mer drag skapas. Genom att kraften på stabilisatorn är riktad nedåt kommer således vingarna, eftersom de måste skapa mer lyftkraft, att generera betydligt mer inducerat luftmotstånd (förutom att stabilisatorn själv ger ytterligare drag). Detta påverkar bränsleförbrukning och fart och även svängprestanda (jag tänker då på förmågan att svänga skarpt och uthålligt, vilket är en mycket viktig egenskap hos stridsflygplan).

Klicka här för att läsa mer om de krafter som verkar på ett flygplan under sväng och hur man gör s k koordinerade svängar, dvs svängar med konstant fart, utan att planet stiger eller sjunker och utan att man kasar utåt eller inåt i svängen.

 

Stabila flygplan

Att ha tyngdpunkten framför lyftkraftcentrum har emellertid en stor fördel, nämligen att planet blir stabilt och därmed lättfluget. För att förstå detta skall vi nu betrakta bild 3.

Bild 3. Vi tänker oss nu att planet handflygs och att nosen (utan pilotens avsikt) höjs lite grand (i förhållande till luftströmmen). Det kan bero på diverse olika faktorer, t ex att vi har lite turbulens på planets flygnivå. Eller att piloten gör en ofrivillig liten rörelse med spaken. I bilden är nosens höjning våldsamt överdriven, för att resonemanget skall bli tydligare. I själva verket kanske det handlar om någon bråkdel av en grads noshöjning.

Vi skall nu se vad som händer med krafterna när nosen höjs lite grand (planet vrids medurs). FG påverkas inte i sig. Däremot måste vi dela upp FG i två komposanter, en vinkelrät mot flygkroppen (som är motriktad FL) och en som är parallell med flygkroppen och riktad bakåt. Detta har vi redan diskuterat ovan och detta påverkar inte vårt resonemang om stabilitet (som är principiellt). FG har överhuvudtaget ingen betydelse här, eftersom dess vridmoment är noll (eftersom CG är vridningsaxeln så är FG:s momentarm lika med noll). När planets nos höjs (vilket är samma sak som att anfallsvinkeln ökar) kommer FL att öka (se t ex bild 5 i huvudartikeln). Eftersom FL vill vrida planet moturs, dvs vill sänka nosen, kommer noshöjningen således att motverkas. Detta förstärks av stabilisatorn, om denna har negativ anfallsvinkel. När stjärten sänks blir stabilisatorn mer horisontell, varvid FS minskar. Eftersom FS vill höja planets nos, och FS minskar, bidrar detta ytterligare till att noshöjningen motverkas. När nosen höjs, kommer således både FL och FS att motverka denna höjning, och planet återgår av sig självt till planflykt. Det finns olika typer av stabilitet, t ex statisk och dynamisk stabilitet. En viktig faktor här är hur den svängning som kan uppstå i samband med att planet återgår till horisontellt läge dämpas ut. Beroende på olika faktorer kan det nämligen hända att planet överkompenserar och passerar det horisontella läget och börjar peka nedåt med nosen. Eftersom planet är stabilt motverkas detta, och planet börjar höja nosen, som återigen passerar jämviktsläget. Vi får då en icke dämpad svängning och resultatet blir att nosen åker upp och ned som en berg- och dalbana, vilket inte är så lyckat. En analogi är fjädrarna på en bil, som behöver stötdämpare, vilka dämpar ut fjädrarnas svängning (annars skulle de flesta bli sjösjuka i bilen, eftersom bilen skulle fortsätta att gunga efter varje gupp i vägbanan). Den intresserade läsaren kan läsa mer om odämpade och dämpade svängningar på Wikipedia, eller söka på Google.

Om nosen i stället sänks får vi motsatta resultatet. Dvs FL minskar och FS ökar, vilket motverkar nossänkningen och får planet att gå tillbaka till horisontellt läge.
Ett flygplan med CG framför CL blir således stabilt, dvs tenderar att motverkar störningar i pitchled (nos upp/nos ned). Detta är utan tvekan en mycket god egenskap, eftersom ett sådant plan blir lättfluget (tenderar att balansera sig självt) och flygsäkert.

Givetvis är allt mycket mer komplicerat än den förklaring som getts ovan. I princip ligger lyftkraftcentrum CL fast vid planflykt (så länge man inte ändrar konfigurationen genom att t ex ta ut klaffar) medan tygndpunkten CG:s läge beror på hur planet är lastat. Men, när anfallsvinkeln ökar kommer lyftkraftcentrum CL att flyttas framåt och närma sig CG, vilket dessvärre komplicerar våra stabilitetsberäkningar en hel del. Av detta skäl definierar man en punkt kallad aerodynamiskt centrum (AC), i vilken man placerar lyftkraften. Denna punkt har fördelen att vara oberoende av anfallsvinkeln. Vi går inte närmare in på detta, eftersom en sådan genomgång skulle kräva sin egen artikel för att vara meningsfull. Dessutom skulle detta inte tillföra något väsentligt med tanke på att föreliggande artikel mer handlar om principiella, övergripande resonemang än praktiskt användbar teori.

Aerodynamik är alltid komplicerat. För 70 år sedan använde man huvudsakligen vindtunnelförsök i kombination med omfattande manuella beräkningar och stor erfarenhet vid flygplanskonstruktion. Det var enda möjligheten. Även om aerodynamikens lagar var väl kända på den tiden, fanns inga som helst möjligheter att lösa de ekvationer dessa lagar gav upphov till. De resulterande differentialekvationerna kan endast lösas exakt (analytiskt) för mycket enkla specialfall. Normalt, när man räknar på verkliga flygplan, måste man använda s k numeriska metoder, för vilket krävs superdatorer. Ju längre datorn får stå och tugga, desto fler decimaler får man (dvs desto noggrannare blir lösningen). Man kan alltså få så exakta lösningar som man har behov av (beroende på hur mycket superdatortid man är beredd att betala), men aldrig helt exakta lösningar.

Idag har därför vindtunnelförsök/räknestickor/logaritmtabeller alltmer ersatts av superdatorer (även om man fortfarande använder vindtunnlar för kontroll av de beräkningar som gjorts). När man numeriskt försöker lösa aerodynamikens differentialekvationer omvandlar man ofta dessa till linjära ekvationssystem. Problemet är att sådana system kan innehålla miljoner och åter miljoner obekanta (läsaren kommer säkert ihåg ekvationssystem från skoltiden, där man kanske hade två obekanta, x och y). Antalet beräkningssteg (additioner, divisioner etc) som krävs (också kallat beräkningskostnaden) ökar dramatiskt när antalet obekanta ökar. Beräkningskostnaden för N obekanta vid s k Gausselimination (den metod man fick lära sig i skolan) är proportionell mot N3=N⋅N⋅N (det finns andra lösningsstrategier, vilka är något mer effektiva, med en beräkningskostnad som ligger strax under N3). Har jag en ekvation med 3 obekanta krävs således 27 gånger så många beräkningssteg (33) som för en ekvation med en obekant. Har jag 3 000 obekanta krävs 27 000 000 000 gånger så många beräkningssteg som för en ekvation med en obekant. Och har jag 3 miljoner obekanta blir beräkningskostnaden ca 2,7⋅1019 gånger så så stor som för en ekvation med en obekant. Om vi skulle försöka att för hand lösa ett ekvationssystem med 3 miljoner obekanta, och varje steg tar 30 sekunder och att lösa en ekvation med en obekant tar 30 s, skulle vi behöva hålla på och räkna i ca 2,5⋅1013 år (om man jobbar treskift, dvs 24 h/dygn), vilket är nästan 2 000 gånger universums uppskattade ålder. Och då har vi bara löst ekvationerna för en liten del av en vinge (några kvadratcentimeter). Att beräkna ett helt flygplan kräver att man kanske löser tiotusentals sådana ekvationssystem.

Före superdatorernas tid fanns helt enkelt ingen möjlighet att praktiskt utföra sådana beräkningar. Med hjälp av räknesticka och tabeller och kanske mekaniska additions- och multiplikationsmaskiner skulle processen givetvis gå kanske 100 gånger snabbare (varje steg skulle då ta 0,3 s — förmodligen överoptimistiskt). Och skulle vi dessutom sätta en miljon matematiker på problemet så skulle vi ändå behöva vänta ca 257 000 år på lösningen. Dessutom skulle inte en miljon matematiker kunna samarbeta effektivt. Förmodligen skulle en avskräckande stor del av antalet producerade mantimmar gå åt till sammanträden och informationsutbyte mellan alla dessa matematiker för att undvika dubbelarbete och för datautbyte. Och sist men inte allra minst; sätt människor att räkna i tiotusentals år och förr eller senare (antagligen redan efter några dagar) kommer någon att göra det första räknefelet. Och eftersom numeriska beräkningar är helt beroende av att de beräkningar som dittills gjorts är korrekta, skulle alla efterföljande beräkningar bli mer och mer felaktiga, dvs hela företaget är dömt att misslyckas.

 

Ett flygplans tyngdpunkt — avgörande för flygsäkerhet och flygegenskaper

För ett visst flygplan finns ett område inom vilket CG måste befinna sig för att planet skall kunnas flygas med säkerhet. Ligger CG väldigt lång fram får man ett väldigt stabilt flygplan (enligt ovan). Nackdelen är att det blir så stabilt att det blir svårmanövrerat. Effekten kan bli, att när man vid landning vill höja nosen för att sätta planet mjukt, kan det vara svårt eller t o m omöjligt att lyfta nosen, och resultatet kan bli att man landar på noshjulet, vilket inte alls är bra. Dessutom, får vi mer luftmotstånd (ju längre CG ligger framför CL, desto större nedåtriktad kraft måste stabilisatorn generera) och därmed ökad bränsleförbrukning och lägre fart och sämre svängprestanda.

När CG flyttas bakåt (flygplanet lastas så att det blir mer baktungt) minskar rL. Därmed blir det vridmoment som FL skapar mindre. Det behövs då mindre kompenserande vridmoment från stabilisatorn och FS kommer att vara mindre. Vilket i sin tur leder till att FL blir mindre. Vingar och skabilisator kommer då att generera betydligt mindre drag, vilket minskar bränsleförbrukningen, ökar farten (för motsvarande motorpådrag) och förbättrar svängprestanda och manöverförmåga i största allmänhet. Samtidigt blir planet mindre stabilt och risken att hamna i stall och även spinn ökar.

Trafikflygplan försöker ha tyngdpunkten så långt bak som möjligt av ovanstående skäl (utan att planets säkerhet äventyras). Man lastar alltså planet medvetet lagom baktungt. Detta förbättrar flygbolagens ekonomi avsevärt. Turbopropplan (och mindre jetplan) som kanske tar 20-30 passagerare är ganska känsliga för tyngpunktsförändringar och där håller kabinpersonal eller piloter reda på hur passagerarna placeras. Kommer det en väldigt tung person som har sittplats långt bak i planet, kanske denne ombeds att byta plats med någon lättviktig passagerare som sitter långt fram. På flygplan som har bränsletankar framför planets tyngdpunkt, så kommer tyngdpunkten att flyttas bakåt allt eftersom bränsle förbrukas. Något som kan hända och har hänt (tyvärr) är att tyngdpunkten då, under flygningen, kan flyttas farligt långt bak. Så långt bak att planet blir svårt, eller t o m omöjligt att flyga. Piloterna måste därför räkna på detta innan flighten, så att de har järnkoll på var tyngdpunkten befinner sig under hela flighten (på överljudspassagerarplanet Concorde, som var väldigt känsligt för tyngdpunktens läge, var en viktig del av tredjepilotens (flight engineer) uppgift att bevaka tyngdpunkten och pumpa bränsle mellan olika tankar, för att hålla CG inom tillåtet område).

En olycka av denna typ inträffade 1989 i Sverige, när ett mindre passagerarplan (en Beechcraft 99) med 14 passagerare och 2 besättningsmän skulle landa i Oskarshamn. Längst bak i planet satt ett par mycket överviktiga personer och när man närmade sig destinationen, och det inte fanns så mycket bränsle kvar, låg tyngdpunkten farligt långt bak. Då man drog ner farten och fällde ut klaffarna inför landningen blev planet okontrollerbart och störtade med nosen före. Alla 16 ombord omkom. Tragiskt! En av de omkomna var John-Olof Persson (i folkmun kallad John-Olle), mycket känd kommunpoliker i Stockholm och nyutnämnd generaldirektör för AMS.

På stora jetplan spelar en eller två kraftigt överviktiga personer inte någon roll.

Konstruktörerna av trafikplan har försökt hitta olika sätt att minska FL och därigenom minska bränsleförbrukningen. MD-11 (se bild 7 i huvudartikeln), som var (fortfarande flyger de flesta MD-11 som tillverkades) ett för sin tid väldigt avancerat plan, hade t ex en trimtank för bränsle längst bak i stjärten. Under cruise pumpade systemet automatiskt en viss bränslemängd dit (det handlade om några ton). Detta gav en nedåtriktad kraft i stjärtpartiet (som inte behövde kompenseras med ökad lyftkraft), vilket gjorde att FS och därmed FL kunde vara betydligt mindre (MD-11 hade av detta skäl en extremt liten stabilisator). Något som sparade bränsle. Inför landning pumpades bränslet i trimtanken framåt till vingtankarna (även detta skedde automatiskt). Eftersom tyngdpunkten låg långt bak hade MD-11 ett system som hette LSAS (Longitudinal Stability Augmentation System). Det var ett datoriserat system som hjälpte piloterna att kontrollera planet (vilket blev mer stabilt tack vare systemet).

Tyngdpunktens läge hos ett flygplan beror (förutom på själva planet) på last och bränsle. Därför har alla flygplan en s k höjdrodertrim (eller stabilisatortrim, jag återkommer strax till detta senare begrepp). På mindre plan är det en ratt på instrumentpanelen, med vars hjälp man kan förinställa höjdrodrets läge och en skala där man ser hur rodret är trimmat. På så sätt kan man kompensera för olika konfigurationer när det gäller last, bränsle och klafflägen. När man t ex tar ut eller fäller in klaff flyttas lyftkraftcentrum och planets attityd ändras. Utan höjdrodertrim skulle man vara tvungen att dra spaken mot sig (eller föra den framåt) och hålla den i detta läge, för att motverka att planet kanske är lite framtungt (baktungt). Detta skulle vara väldigt jobbigt. Med höjdrodertrimmen kan man trimma bort alla effekter av last etc, så att planet är balanserat och i princip flyger stabilt när man släpper spaken. Man har också trimmöjligheter för sidoroder och skevroder, men höjdrodertrimmen är utan tvekan den viktigaste trimfunktionen hos ett flygplan. Sidorodertrim är framför allt viktigt om ett flermotorigt plan får ett motorbortfall. Då kommer man att ha mer dragkraft på ena sidan än på den andra och planet vill svänga åt den icke fungerande motorns sida. Detta kan man således trimma bort. Annars måste man resten av flygningen hålla ena pedalen nedtryckt, och flygplanspedaler kräver väldigt mycket kraft.

Speciellt gäller ovanstående trafikplan. En jumbojet kanske på korta sträckor har 20 ton bränsle, medan man på långflygningar kan ha runt 150 ton. Detta ger stora variationer i tyngdpunktens läge. Även lasten varierar stort. Stora passagerarplan försöker ta så mycket containers med flygfrakt som möjligt i sina lastrum (en jumbojet kan ha 30 ton flygfrakt eller mer, förutom passagerarna och deras bagage). Vinstmarginalen på att flyga passagerare är idag liten med tanke på hur billigt det är att flyga. Kan man fylla upp med frakt ökar detta lönsamheten väsentligt. Här räcker det inte med höjdrodertrim för att trimma bort effekterna av olika last etc (förändringen i trim, när man tar ut och in klaffar och slats, är dessutom avsevärda på ett stort trafikplan). I stället så vrider man hela stabilisatorn med elektriska eller hydrauliska domkrafter (detta kallas stabilizer trim eller stab trim). Trimkontrollen sitter oftast på ratten eller spaken och kontrolleras med ena tummen. Före start räknar man fram trimläget utifrån var planets tyngdpunkt befinner sig och med hänsyn till hur mycket klaff man planerar att ha när man startar (vid start används aldrig full klaff). Detta trimläge ställer man in innan start och planet kommer då att vara balanserat när det lättar. Har man glömt detta tjuter en varning (och en röst säger "stab trim, stab trim..." eller något liknande) när man drar på för att starta. Står stabilizer trim väldigt fel vid start kanske det inte ens går att lyfta nosen för att lätta, vilket kan vara en obehaglig överraskning, med tanke på att det då ofta inte finns tillräckligt med bana kvar för att få stopp på planet.

När stabilisatorn på ett trafikplan är trimmad så att planet är neutralt (balanserat), räcker höjdrodret till för att manövrera planet. När planets balans ändras under flygningen, t ex genom att bränsle förbrukas, kan man i princip använda höjdrodret för att kontrollera planet (inom vissa gränser), men det blir ganska tungt. Om nosen vill höjas, måste man motverka detta genom att hålla spaken eller ratten framåt. Därför trimmar man om (om man flyger manuellt) stabilisatorn så att planet hela tiden är balanserat. Då kan man i princip släppa spaken/ratten en liten stund utan att något händer. Detta är oerhört mycket mer vilsamt för en pilot. Vid stora förändringar i planets balans, som t ex när man tar ut full klaff före en landning, är höjdrodret otillräckligt för att kontrollera planet. Då måste man trimma om stabilisatorn. När denna sedan står rätt, räcker höjdrodret till för att fullt ut och med marginal kontrollera planet under landningen.

För att sammanfatta: Höjdrodren, vilka sitter på bakkanten av stabilisatorn, manövreras således med ratten eller spaken (genom att dra den åt sig eller skjuta fram den). På mindre plan kan dessa roders neutralläge justeras med höjdrodertrimmen (som ställs in med en ratt på instrumentpanelen). På trafikplan har man normalt stabilizer trim, som vrider hela stabilisatorn, och som manövreras med trimswitchar på ratten eller spaken. Överljudsstridsplan saknar ofta separata höjdroder och vrider hela stabilisatorn med hjälp av spaken (moderna stridsplan har aldrig ratt), dvs man använder hela stabilisatorn som höjdroder (och även trim). Detta är nödvändigt när man närmar sig och passerar ljudhastigheten, eftersom det då krävs stora krafter från höjdrodret för att kontrollera planet. Dessutom måste ett stridsplan kunna manövreras synnerligen bryskt (vi pratar här om så våldsamma manövrer så att en otränad person direkt skulle förlora medvetandet — till detta krävs stora roderytor). Även vid sväng så är höjdrodret viktigt, eftersom ett flygplan måste luta när det svänger. Stridsplan kan f ö banka 90° vid sväng och då är det helt och hållet höjdrodret som kontrollerar svängen (lyftkraften ges då av flygkroppssidan och fenan, och sidorodret fungerar som höjdroder).

I slutet av WW2 började det dyka upp flygplan (både propeller- och jetplan) som i dykning kunde komma upp i farter nära det s k kritiska mach-talet (då luftens hastighet på vingens översida uppnår eller överstiger ljudhastigheten och man får tryckstötar — buffeting — runt vinge och stabilisator, vilket i värsta fall kan bryta sönder vingen eller få hela stjärten att lossna). Flera Republic P-47 Thunderbolt (som lätt kunde komma upp i mycket höga farter under dykning) förolyckades på grund av detta. När farten närmade sig det kritiska machtalet sänktes nosen alltmer och planet hamnade i en dykning som inte gick att häva, oavsett hur mycket piloten drog spaken åt sig. Förklaringen till detta är följande (eller snarare en delförklaring — aerodynamiken när ett flygplan börjar närma sig mach 1 är dessvärre mycket komplicerad):
När farten närmar sig den transsoniska regionen (nära kritiska mach-talet), flyttas lyftkraftcentrum (CL) bakåt. Om vi betraktar bild 3 så ser vi att FL då får en större momentarm relativt tyngdpunkten CG varför nosen kommer att sänkas. Stabilisatorn hos ett konventionellt jaktplan vid den här tiden gav då inte tillräckligt stor nedåtriktad kraft (FS) för att motverka detta. Planet var därmed dömt att gå med nosen i backen (om inte piloten blixtsnabbt, dvs inom någon sekund, drog av gas — om dykvinkeln hunnit blir för stor hjälpte inte detta). Att luftströmningen runt stabilisatorn i den transsoniska regionen blir kraftigt störd (och höjdroderverkan därmed minskas dramatiskt) bidrog ytterligare till att man inte kunde häva dykningen.
Lösningen visade sig vara att använda hela stabilisatorn som höjdroder och att dessutom göra stabilisatorn betydligt större plus att man införde hydraulservo för höjdrodret. Därmed fick man tillsäcklig höjdroderauktoritet för att kontrollera planet i pitch även i det transsoniska området. Många piloter fick dessvärre sätta livet till innan man lärt sig denna dyrköpta läxa.
Moderna jetliners har en mach-trimfunktion, som automatiskt trimmar om stabilisatorn (nose up) för att neutralisera nossänkningen på grund av att lyftkraftcentrum flyttas bakåt vid höga mach-tal.

 

Instabila flygplan

Avslutningsvis tänkte jag helt kort visa vad som händer när man lägger tyngdpunkten bakom lyftkraftcentrum. Detta förekommer inte på trafikflygplan eller privatplan, men används i senare generationer av stridsplan. Luftstrid är fortfarande aktuellt och då gäller det att ha goda svängprestanda så att man kan svänga bättre än fienden och manövrera in sig bakom denne. En stark motor (i kombination med ett så lätt plan som möjligt) är också ett plus, eftersom bra acceleration och bra stigprestanda ökar chansen att vinna en luftstrid.

Bild 4. Här ligger tyngdpunkten CG bakom lyftkraftcentrum CL. FS måste i detta fall vara riktad uppåt för att balansera FL:s vridmoment (se texten nedan). Den senare kraften vill rotera planet medurs (höja nosen) kring CG medan FS vill rotera planet moturs (sänka nosen) relativt samma punkt.

Jämför bild 4 med bild 1! CG (tyngdpunkten) ligger nu mellan CL och stabilisatorn. Precis som i bild 1 så låter vi CG vara vridningsaxeln (vi kan välja vilken axel vi vill — resultatet blir detsamma). FG:s vridmoment kring denna punkt är lika med 0, eftersom momentarmen är 0 (FG⋅0 = 0). FL vill höja nosen (vrida planet medurs). I detta fall måste FS vara uppåtriktad (annars skulle FS samverka med FL). Detta åstadkommes genom att t ex ge stabilisatorn en positiv anfallsvinkel. Eftersom momentarmen för FS är betydligt större än FL:s momentarm balanseras planet och bibehåller sitt horisontella flygläge (trots att FS är betydligt mindre än FL). Eftersom FS är uppåtriktad behöver inte FL kompensera för en ytterligare, nedåtriktad kraft utöver FG. Tvärtom så blir FL mindre, tack vare FS (vilken bidrar till lyftkraften). Förutom att vridmomenten måste balansera varandra måste de vertikala krafterna ta ut varandra (om inte planet skall stiga eller sjunka), dvs FL = FG-FS (jämför med ekvation 1 ovan). Eftersom FL är betydligt mindre med CG bakom CL jämfört med CG framför CL, får vi betydligt mindre inducerat luftmotstånd, dvs planet får lägre bränsleförbrukning, högre fart för samma dragkraft och svänger bättre och blir rent generellt mycket mer manövrerbart. Därför har i princip alla stridplan tillhörande de senaste generationerna (JAS 39 Gripen, F-16, F-22 Raptor, F-35 JSF, Eurofighter, Rafale, olika derivat av Su-27 etc), som förväntas kunna verka i jaktrollen, tyngdpunkten placerad bakom lyftkraftcentrum och är därmed instabila (rena jaktplan finns knappast idag, om vi talar om senare generationer stridsplan, vilka förväntas kunna fungera i flera roller; jakt, markattack, spaning etc — JAS, i JAS 39 Gripen, står för Jakt, Attack, Spaning).

Låt oss nu undersöka instabiliteten. Vad skulle hända om planet i bild 4 plötsligt höjer nosen några grader (analogt med bild 3)? Ja, när anfallsvinkeln ökar, så ökar FL och eftersom denna kraft vill vrida planet medurs, kommer nosen att höjas ännu mer (FL verkar åt samma håll som störningen och förstärker denna). Vad som händer med FS är lite mer komplicerat och beror på vilken anfallsvinkel stabilisatorn har. Förmodligen ökar stabilisatorns anfallsvinkel, varvid FS blir större, vilket leder till att FS vill sänka planets nos. Dvs FS motverkar FL. I bästa fall kanske dessa krafters vridmoment tar ut varandra. I så fall kommer antagligen noshöjningen att fortsätta, eftersom rotationen fortsätter om totala kraftmomentet är noll (systemet är således inte stabilt). Eller också är nu FL:s vridmoment större än FS:s vridmoment och då förstärks noshöjningen. Hur som helst kommer nosen inte att sträva efter att återgå till sitt horisontella läge och den tidigare stabiliteten finns inte längre. Planet blir lika nervöst som en avelshingst.

Priset man får betala är således att flygplan med tyngdpunkten bakom lyftkraftcentrum grundläggande är instabila. Och därmed svårflugna. För en människa är det i princip omöjligt att kontrollera ett instabilt flygplan, eftersom det kräver små roderkorrektioner flera gånger per sekund (tittar man på rodren på ett flygande JAS-plan ser man hur dessa fladdrar oavbrutet). Det är ungefär som att balansera en välvässad blyertspenna på sin spets på ett finger. Det krävs således datorhjälp för att flyga ett sådant plan och lägger datorsystemen av är det bara att skjuta ut sig. Utan datorhjälp hamnar man inom några sekunder i ett läge man inte kan ta sig ur. Nu är risken för totalt datorhaveri inte så stor, eftersom man har flera datorsystem som arbetar parallellt.

Instabiliteten kan vara av olika grad. F-16, som var det första stridsflygplanet med inbyggd instabilitet, har vad man i bland kallar relaxed stability (avslappnad stabilitet). Man kunde också använda termen lätt instabilitet. Det mest instabila flygplan som någonsin byggts var förmodligen Grumman X-29, ett amerikanskt experimentplan med framåtsvepta vingar. Observera att instabiliteten på stridsflygplan endast är i pitchled (nos upp/nos ned). I roll- och girled (jaw) är planen stabila. Instabiliteten beror dessutom på farten. F-16 och många andra instabila flygplan blir stabila i överljudsfart på grund av den effekt som beskrivs i slutet av föregående kapitel, dvs att lyftkraftcentrum flyttas bakåt när man kommer in i det transsoniska området och däröver. Detta spelar kanske inte så stor roll, eftersom kurvstrid sällan eller aldrig sker i överljudsfart. Andra faktorer kan också påverka stabiliteten. Su-27 lär t ex vara stabil om planet har fulla bränsletankar.

Bild 5. Grumman X-29. Ett experimentplan där man testade framåtsvepta vingar (under perioden 1984-1992). Planet hade mycket stor manöverförmåga men visade sig vara extremt instabilt. Datorsystemet fick korrigera rodren ca 40 gånger per sekund för att hålla planet inom flight envelopen.
Vid framåtsvepta vingar arbetar sig inte luftströmmen runt vingarna utåt mot vingspetsarna utan inåt mot flygkroppen. Detta gör att man slipper problemen med vingspetsvortex och därför inte behöver ha winglets och liknande (se artikeln "Luftmotstånd och lyftkraft"). Plus att risken för skevroderstall minskar. Men som sagt, ingenjörsvetenskap är kompromissernas vetenskap och fördelarna med framåtsvepning överväger inte nackdelarna.

Egentligen finns idag inget altenativ till att bygga instabila stridsplan, eftersom den potentiella fienden förmodligen har sådana. Ett konventionellt, stabilt stridsplan, med tyngdpunkten framför lyftkraftcentrum har mycket svårt att hävda sig i en kurvstrid mot ett modernt, instabilt stridsplan, eftersom svängprestanda och allmän manöverförmåga är så mycket sämre.

Tillbaka till huvudartikeln "Varför flyger flygplan?"
Tillbaka till artikeln "Luftmotstånd och lyftkraft"
Tillbaka till Kristers Flygsida